Wndsn Quadrant Telemeter Berechnungen
Das Beste aus unseren graphischen Telemetriecomputern herausholen.
Wie bei vielen komplexen Instrumenten gibt es mehrere Möglichkeiten, bestimmte Probleme zu lösen und die erforderlichen Eingaben zu messen. Durch die Kombination der verschiedenen Funktionen ergibt sich eine Vielzahl erweiterter Einsatzmöglichkeiten. Bitte beachten Sie auch das gedruckte Handbuch.
Entfernung via Augenhöhe
Bestimmen der Entfernung zu einem Punkt, über den wir keine Daten haben.
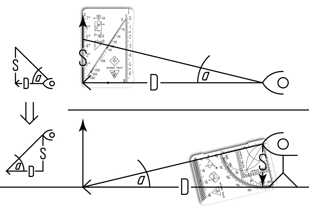
Bei regulären Telemeter-Entfernungsberechnungen lösen wir ein Dreieck mit der Gegenkathete als bekannte Abmessung/Größe/Höhe eines bestimmten Objekts in der gesuchten Entfernung.

Oben: Verwenden des Telemeter-Dreiecks zum Messen der Entfernung mit der bekannten Objektdimension S. Unten: Umdrehen des Telemeter-Dreiecks zum Messen mit der Augenhöhe S.
Was, wenn es kein Objekt gibt oder wir seine Größe nicht kennen und auch keine Möglichkeit haben, diese zu bestimmen?
Die Antwort ist, das Dreieck umzudrehen.
Mit unserer eigenen Größe, genauer gesagt unserer Augenhöhe, können wir das Dreieck umdrehen, den Winkel zum betreffenden Punkt messen und wie gehabt nach der Entfernung auflösen (mit dem Telemeter-Nomogramm).
Die einzige Voraussetzung ist die Kenntnis unserer Augenhöhe.
Um den Winkel zu messen, müssen wir mit dem Quadranten aus Augenhöhe zur Basis des gesuchten Punkts peilen. Das Ergebnis ist die Position, an der das Senklot die Gradskala kreuzt. Wir nehmen diesen Wert, transponieren ihn auf das Telemeter-Nomogramm, verwenden die Schnur, um den Wert mit unserer Augenhöhe zu verbinden, und lesen die resultierende Entfernung auf der mittleren Skala ab.
Alternativ gibt die Steigungsskala des Quadranten den entsprechenden Tangenswert zurück. Das Teilen unserer Augenhöhe durch den Tangens ergibt gleichermaßen die Entfernung.
Diese Methode eignet sich gut für kürzere Entfernungen. Wenn wir annehmen, dass der kleinste Winkel, den wir messen können, 1° ist und der Tangens von 1° 1/57,3 beträgt, multiplizieren wir die Augenhöhe von 1,75 m mit 57,3 und erhalten eine Entfernung von etwa 100 m (vgl. Tycho).